公司动态

了解最新公司动态及行业资讯

履带式土壤破碎及药剂添加混合搅拌修复一体机

2017-11-29 02:05:23 877 编辑:admin 来源:本站
  在一些污染土壤修复技术中,一个十分重要的工序就是将挖掘出的土壤块状物经过筛分破碎后,添加试剂混合搅拌。为了使土壤颗粒能够与试剂得到充分的接触达到修复的效果,我们需要将土壤块状物破碎成小颗粒,提供与试剂充分接触的条件。在现阶段施工过程中,挖掘出的土壤需要先筛分剔除土壤中的砖块、石块、建筑垃圾等杂物后,通过一些矿山用的破碎机将其破碎成小粒径土壤后,利用搅拌设备将土壤与添加物进行混合搅拌处理。此类处理方式需要一系列的固定设备及开阔的施工场地,并且需要利用装卸车辆将挖掘后的土壤运输至处理现场。这一系列的工序严重导致了额外的土壤修复的生产成本的产生,增加了人力,并且浪费了生产时间。
  为解决上述技术问题,本发明提出了履带式土壤破碎及药剂添加混合搅拌修复一体机,以达到节约土壤修复的生产成本、节省人力物力、节约生产时间和提高生产效率的目的。
  一、为达到上述目的,本发明的技术方案如下 :
  履带式土壤破碎及药剂添加混合搅拌修复一体机,包含有机体,机体上依次设有破碎搅拌装置、控制装置、驱动装置和出料装置 ;
  破碎搅拌装置固定连接在机体的头端,破碎搅拌装置包含有狼牙对辊破碎机,狼牙对辊破碎机的侧下方设有对辊搅拌机,对辊搅拌机的一端位于狼牙对辊破碎机的下方,另一端上方设有第一螺旋送料机,第一螺旋送料机上连接有料仓,对辊搅拌机下方设有切割器,切割器下方设有第二螺旋送料机,第二螺旋送料机的一端位于切割器的下方,另一端连接有搅拌器,搅拌器固定连接在机体上 ;
  控制装置包含有操作台,操作台固定连接在机体上,操作台分别与狼牙对辊破碎机、对辊搅拌机、料仓、切割器、第二螺旋送料机、第一螺旋送料机和搅拌器实现电连接 ;
  驱动装置包含有发动机,发动机与操作台实现电连接 ;
  出料装置包含有出料传输带,出料传输带的一端与搅拌器相连。
  优选的,所述狼牙对辊破碎机上设有两根中轴,中轴上分布有狼牙锯齿,两根中轴上的狼牙锯齿相适配。
  优选的,所述第一螺旋送料机和第二螺旋送料机上均设有螺旋送料槽。
  优选的,所述切割器包含有轴承,轴承上均匀分布有三组切割刀片。
  优选的,所述车体下方设有履带,以保证机体能够适应多种路面状况。
  二、优点:
  通过上述技术方案,本发明通过将土壤的破碎、搅拌进行一体化流水线生产,达到节约土壤修复的生产成本、节省人力物力、节约生产时间和提高生产效率的目的。
  三、附图说明
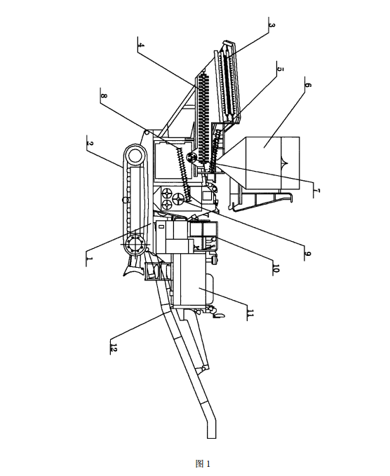
履带式土壤破碎及药剂添加混合搅拌修复一体机的结构示意图
  图 1 为本发明实施例所公开的履带式土壤破碎及药剂添加混合搅拌修复一体机的结构示意图。
  图中数字和字母所表示的相应部件名称 :
  1. 机体 2. 履带 3. 狼牙对辊破碎机 4. 对辊搅拌机 5. 第二螺旋送料机 6. 料仓 7. 切割器 8. 第二螺旋送料机 9. 搅拌器 10. 操作台 11. 发动机 12. 出料传输带

30

装备制造经验

立即免费获取土壤修复方案

为用户提供及时、高效、便捷的服务

在线咨询
尊龙凯时环境希望与你携手,共创美好未来...
5