公司动态

了解最新公司动态及行业资讯

土壤淋洗法修复用细筛分离机

2017-11-21 03:16:50 491 编辑:admin 来源:本站
  随着我国经济的高速发展和城市化、工业化进程的加快,我国土壤和地下水污染问题也日益突出,尤其是一些工业企业在生产过程中由于操作或管理不当,导致大量污染物进入到周围环境中,造成严重的污染,冶金行业是其中重要的一类。废弃的化工污染场地往往占据着有价值的城市位置,这些场地会被用作农业或商业用途时会造成极大的环境和健康威胁,因而需要对原工业遗弃场地污染土壤进行修复。
  目前针对重金属污染土壤的修复技术主要包括客土法、固化 / 稳定化、土壤淋洗和植物修复技术等,其中土壤淋洗法是目前重金属污染场地治理的主流技术。
  本发明的目的在于提供一种将土壤中的可溶污染物和小于筛网网孔的细小颗粒充分分离的淋洗法土壤修复用细筛分离机。
  一、 本发明采取的技术方案为 :
  一种淋洗法土壤修复用细筛分离机,包括储液箱和传送支架,所述储液箱上顶面开口,所述传送支架连接于储液箱正上方,传送支架上支承有传送带,所述传送带与储液箱部分或全部在垂直方向投影重合,传送带的带面为网状,传送带的上方设有进料口,所述进料口位于储液箱正上方或传送带传送起始端上方。
  所述储液箱底部连接有泥浆循环搅拌泵。
  所述储液箱内并列设有两台泥浆泵,泥浆泵的出水管道连接储液箱外侧的出料管。
  所述传送带上方设置对应传送带的喷淋管,所述喷淋管设置于储液箱正上方。
  所述喷淋管设置于进料管朝向传送带传送方向的一侧。
  二、有益效果为 :
  1. 采用筛网状的传送带对初筛过的土壤进行细筛,小颗粒的土壤直接从传送带的网孔中落入储液池内,大颗粒土壤由传送带排出,利于大小颗粒的快速充分分离。
  2. 传送带上方设有喷淋管,管体对传送带上的初筛过的土壤喷高压水反复清洗,将土壤中的可溶污染物和小于筛网网孔的细小颗粒充分分离并带入至储液箱内,有效提高了治污能力。
  3. 储液箱中设有两组并列的泥浆泵,在一台泵体故障上可以迅速启动另一台,防止因设备故障而影响后段处理工序的进行。
  4. 储液箱底部经管道连接有循环搅拌泵,在储液箱中不断搅拌,确保颗粒状土壤以及重金属离子悬浮于水中,防止颗粒的沉淀,便于泥浆泵的抽取。
  三、附图说明
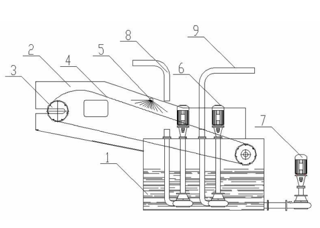
淋洗法土壤修复用细筛分离机的主视图
  图 1 为淋洗法土壤修复用细筛分离机的主视图。
  图中 :储液箱 1,传送支架 2,传送带 3,带面 4,喷淋管 5,泥浆泵 6,泥浆循环搅拌泵7,进料管 8,出料管 9。

30

装备制造经验

立即免费获取土壤修复方案

为用户提供及时、高效、便捷的服务

在线咨询
尊龙凯时环境希望与你携手,共创美好未来...
5