公司动态

了解最新公司动态及行业资讯

土壤破碎机破碎辊结构特点

2017-10-10 02:02:55 170 编辑:admin 来源:本站
    普通的土壤破碎机使用的破碎辊一般由一个简体和排布在筒体外圆柱面上的刀头组成,刀头在简体外圆柱面上一般是沿圆周线或螺旋线
    等距排列。破碎辊在工作过程中,由于土料具有沿刀头排列方向运动的趋势,因此刀头的规则排列方式对土料的扰动较小,影响了对土料的破碎效果。
    本实用新型所要解决的技术问题是提供一种结构合理、破碎效果好的土壤破碎机破碎辊。
    本实用新型的土壤破碎机破碎辊由简体和排列在筒体外圆柱面上的刀头组成,刀头沿圆周方向排列的轨迹在简体外圆柱面的展开平面上构成多条折线,所述的各条折线在纵向上并排排列。在同一条折线上的各个刀头与相邻刀头之间形成的多个刀头间隔中,至少有两个刀头间隔的长度不相等。
    本实用新型由于将刀头在简体外圆柱面的展开平面上沿折线形排列,因此在破碎辊旋转过程中沿刀头排列方向运动的土料被不断地改变方向,使土料的扰动更加频繁,从而提高了土壤破碎效果;另外,同一条折线上的刀头不等距排列也有利于增加土料的扰动,获得更佳的土壤破碎效果。
    附图说明
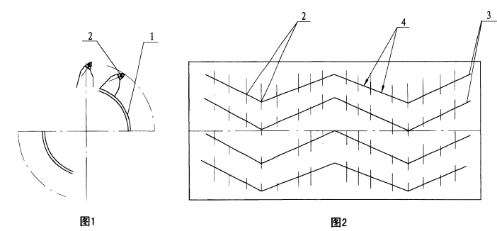
  土壤破碎机破碎辊的端面示意图
    图1是本实用新型的土壤破碎机破碎辊的端面示意图;
    图2是简体外圆柱面的展开平面结构示意图。
    如图1所示,刀头2排列在简体1的外圆柱面上。
    具体实施方式
    如图2所示,在简体外圆柱面的展开平面上,刀头2沿着多条呈W形的折线3排列,相邻刀头之间的刀头间隔4的长度可以不相等。

30

装备制造经验

立即免费获取土壤修复方案

为用户提供及时、高效、便捷的服务

在线咨询
尊龙凯时环境希望与你携手,共创美好未来...
5